Стойка СЦ 20.2-4.1
Размеры:
Длинна: 20000 мм.
Ширина: 800 мм.
Высота: 800 мм.
Вес: 10147 кг.
ГОСТ, Серия: Серия 3.407.1-151
Объем бетона: 3,56 м3
Геометрический объем: 12,8 м3
Подробнее
Описание
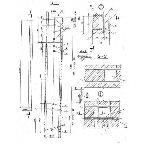
Стойки СЦ 20,2-4,1 – железобетонные элементы в плане цилиндрического сечения. Имеют подпятники и две опорные диафрагмы. Стержень обладает высокой жесткостью, прочностью и трещиностойкостью, поэтому допускается эксплуатировать в условиях значительных разрушающих нагрузок, в том числе вырывающих и сдавливающих усилиях, а также изгибающих моментах. Для крепления металлических конструкций опор стойки имеют закладные детали.
1. Варианты написания маркировки
Знаки условного обозначения пишут по-разному (все вариации считаются верными):
1. СЦ 20,2-4,1
2. Основная сфера применения
Стойки цилиндрические СЦ 20,2-4,1 нашли широкое применение в энергетическом строительстве. Это необходимый элемент линий воздушных электропередач, используемый в обустройстве ответственных конструкций, поэтому они должны отвечать всем требованиям прочности и стойкости к перепадам отрицательных температур, переменным и постоянным нагрузкам. Погружаемая часть стоек подлежит специальной обработке защитными составами. Допускается монтировать стойки данного типа в газовой среде любой степени агрессивности, во всех климатических регионах с расчетной зимней температурой до -55 градусов. Район по давлению ветра должен соответствовать IV группе; толщине гололеда – I-IV группы; сейсмической активности до 9 баллов включительно по шкале Рихтера.
3. Обозначение маркировки
Знаки маркировки позволяют классифицировать изделия по видам и маркам. При грамотном формировании номенклатуры на складе удается значительно упростить и ускорить отгрузку товара со склада. Согласно стандартам Серия 3.407.1-151 формируют две группы обозначений. В первой указывают тип конструкции, длину, несущую способность, тип армирования и особенности среды эксплуатации; во второй – наименование завода-изготовителя (штамп ОТК), дату производства и массу конкретного изделия.
Шифр СЦ 20,2-4,1 содержит следующие данные:
1. СЦ – стойка цилиндрическая;
2. 20.2 – координационная длина, указывается в дециметрах;
3. 4 – несущая способность, записывается в кН*м;
4. 1 – тип армирования.
Технические характеристики:
Длина = 20000;
Ширина = 800;
Высота = 800;
Вес = 10147;
Объем бетона = 3,56;
Геометрический объем = 12,8.
4. Основные материалы для изготовления
Стойки цилиндрические СЦ 20,2-4,1 изготавливают методом центрифугирования из тяжелых бетонов класса прочности В45. Бетонную смесь получают на основе сульфатостойких портландцементов. В состав также вводят пластифицирующие и воздухововлекающие добавки с целью повышения эксплуатационных свойств. Принимают следующие параметры бетона:
- морозостойкость 150-200 циклов замораживания-размораживания;
- водонепроницаемость марки W6-8 с дополнительной гидрофобизацией и гидроизоляцией бетонной поверхности;
- высокая трещиностойкость.
Для усиления конструкции используют горячекатаную гладкую арматуру с предварительным напряжением. Натяжка производится механическим способом. Оптимально применять класс стали A-IV. Для поперечной вязки усиливающего пояса берут высокопрочную проволоку периодического профиля класса В-1. Монтажные кольца изготавливают из стали класса A-I, а закладные звенья – из углеродистой стали обыкновенного качества. Все узлы, незащищенные слоем бетона, обрабатывают специальными составами, предупреждающими развитие коррозии.
5. Транспортировка и хранение
Для транспортирования стоек СЦ 20,2-4,1 по железным и автомобильным дорогам применяют оснащенные сцепы из двух платформ. Оптимально использовать опоровозы и мачтовозы, способные обеспечить доставку продукции в неповрежденном состоянии. Берегут стойки от искривлений, вибраций, ударов и прочих сотрясений. Для этого элементы прокладывают деревянными подкладками, а кипу фиксируют стальной проволокой. При погрузке, закреплении изделий и их транспортировке на открытых ж/д составах осуществляются в соответствии с Правилами перевозок грузов и ТУ, утвержденных МПС. При проведении погрузо-разгрузочных работ соблюдают меры предосторожности, сводящие к нулю возможность повреждения. Скорость автомобильного транспортирования составляет до 40 км/ч. Железнодорожные платформы должны быть оснащены поворотно-скользящими турникетами, которые снижают продольные и поперечные усилия. Не допускается стойки перемещать волоком, перекатывать их, наваливать или сбрасывать.
Складирование изделий осуществляется штабелями в 5 горизонтальных рядов. Обратите внимание, что стойки укладывают в шахматном порядке, то есть комли чередуют по рядам. Основание под кипами тщательно выравнивают. Слои изолируют инвентарными подкладками с бортиками, которые исключают скатывание. По вертикали они должны быть расположены строго друг над другом. Штабеля располагают из расчета удобной отгрузки товара со склада.
1. Варианты написания маркировки
Знаки условного обозначения пишут по-разному (все вариации считаются верными):
1. СЦ 20,2-4,1
2. Основная сфера применения
Стойки цилиндрические СЦ 20,2-4,1 нашли широкое применение в энергетическом строительстве. Это необходимый элемент линий воздушных электропередач, используемый в обустройстве ответственных конструкций, поэтому они должны отвечать всем требованиям прочности и стойкости к перепадам отрицательных температур, переменным и постоянным нагрузкам. Погружаемая часть стоек подлежит специальной обработке защитными составами. Допускается монтировать стойки данного типа в газовой среде любой степени агрессивности, во всех климатических регионах с расчетной зимней температурой до -55 градусов. Район по давлению ветра должен соответствовать IV группе; толщине гололеда – I-IV группы; сейсмической активности до 9 баллов включительно по шкале Рихтера.
3. Обозначение маркировки
Знаки маркировки позволяют классифицировать изделия по видам и маркам. При грамотном формировании номенклатуры на складе удается значительно упростить и ускорить отгрузку товара со склада. Согласно стандартам Серия 3.407.1-151 формируют две группы обозначений. В первой указывают тип конструкции, длину, несущую способность, тип армирования и особенности среды эксплуатации; во второй – наименование завода-изготовителя (штамп ОТК), дату производства и массу конкретного изделия.
Шифр СЦ 20,2-4,1 содержит следующие данные:
1. СЦ – стойка цилиндрическая;
2. 20.2 – координационная длина, указывается в дециметрах;
3. 4 – несущая способность, записывается в кН*м;
4. 1 – тип армирования.
Технические характеристики:
Длина = 20000;
Ширина = 800;
Высота = 800;
Вес = 10147;
Объем бетона = 3,56;
Геометрический объем = 12,8.
4. Основные материалы для изготовления
Стойки цилиндрические СЦ 20,2-4,1 изготавливают методом центрифугирования из тяжелых бетонов класса прочности В45. Бетонную смесь получают на основе сульфатостойких портландцементов. В состав также вводят пластифицирующие и воздухововлекающие добавки с целью повышения эксплуатационных свойств. Принимают следующие параметры бетона:
- морозостойкость 150-200 циклов замораживания-размораживания;
- водонепроницаемость марки W6-8 с дополнительной гидрофобизацией и гидроизоляцией бетонной поверхности;
- высокая трещиностойкость.
Для усиления конструкции используют горячекатаную гладкую арматуру с предварительным напряжением. Натяжка производится механическим способом. Оптимально применять класс стали A-IV. Для поперечной вязки усиливающего пояса берут высокопрочную проволоку периодического профиля класса В-1. Монтажные кольца изготавливают из стали класса A-I, а закладные звенья – из углеродистой стали обыкновенного качества. Все узлы, незащищенные слоем бетона, обрабатывают специальными составами, предупреждающими развитие коррозии.
5. Транспортировка и хранение
Для транспортирования стоек СЦ 20,2-4,1 по железным и автомобильным дорогам применяют оснащенные сцепы из двух платформ. Оптимально использовать опоровозы и мачтовозы, способные обеспечить доставку продукции в неповрежденном состоянии. Берегут стойки от искривлений, вибраций, ударов и прочих сотрясений. Для этого элементы прокладывают деревянными подкладками, а кипу фиксируют стальной проволокой. При погрузке, закреплении изделий и их транспортировке на открытых ж/д составах осуществляются в соответствии с Правилами перевозок грузов и ТУ, утвержденных МПС. При проведении погрузо-разгрузочных работ соблюдают меры предосторожности, сводящие к нулю возможность повреждения. Скорость автомобильного транспортирования составляет до 40 км/ч. Железнодорожные платформы должны быть оснащены поворотно-скользящими турникетами, которые снижают продольные и поперечные усилия. Не допускается стойки перемещать волоком, перекатывать их, наваливать или сбрасывать.
Складирование изделий осуществляется штабелями в 5 горизонтальных рядов. Обратите внимание, что стойки укладывают в шахматном порядке, то есть комли чередуют по рядам. Основание под кипами тщательно выравнивают. Слои изолируют инвентарными подкладками с бортиками, которые исключают скатывание. По вертикали они должны быть расположены строго друг над другом. Штабеля располагают из расчета удобной отгрузки товара со склада.
Документы
Серия 3.407.1-151
4.3 Мб
